Как проверить масло в АКПП
Начнем с самого главного – мы всегда рекомендуем перед любой операцией с АКПП вчитаться в мануал – инструкцию к вашему автомобилю, если вы еще не ознакомились с ним ранее.
Зачем нам нужен мануал, если проверку масла можно описать на пальцах? Не все так просто, ведь большинство автоматических трансмиссий имеют свои характерные особенности. Это касается и специфики проверки масла.
Прочитав мануал, определите какой метод проверки масла представлен на вашей АКПП. Это может быть привычный большинству обыкновенный масляный щуп. Это классический вариант, он позволяет без особых сложностей проверить масло.
Также ваша коробка вместо щупа может иметь специальную контрольную трубку. Сегодня такая “приблуда” на АКПП встречается очень часто. Для примера – трансмиссия Aisin A750F, которую устанавливают на модели Тойоты. Имеет такую же систему проверки и шестиступка Hyundai A6gf-1. Она знакома нам в первую очередь по ее присутствию в Хендай Солярис (старше 2009 года).
Итак, с системой проверки масла на вашем автомобиле мы определились, если, конечно, у вас не Мерседес… Его мы оставим на десерт. А пока ближе к делу. Во-первых, мы рекомендуем проводить самостоятельную проверку трансмиссионного масла в теплое время года и на прогретую АКПП. Показания могут сильно отличаться в зависимости как от температуры самой трансмиссии, так и от внешней температуры. Так, зимние условия значительно усложняют процесс проверки ATF жидкости, и вообще, вполне вероятно в таких условиях мы не получим достоверных результатов. Масло густеет.
Итак, на улице стоит теплая погода, как раз самое время нам позаботиться о нашем масле. Для начала нам необходимо прогреть трансмиссию. Но стоит учитывать, что вопреки всеобщему мнению, АКПП не прогревается, когда автомобиль стоит на месте. Вы можете битый час газовать на парковке в отсечку, мучая движок и себя, но коробка останется холодной. Для прогрева коробки нам необходимо проехать некоторое расстояние на автомобиле, примерно 10 – 20 километров. Коробка вместе с маслом, скажем так, потеплеет, а сама АТФ жидкость равномерно распределится по трансмиссии, – это позволит достоверно оценить уровень и состояние масла. Теперь, когда агрегат прогрет, проверку можно начинать.
Проверка уровня масла щупом
Если ваша АКПП имеет щуп для проверки уровня – оставьте автомобиль с заведенным двигателем. Извлеките щуп, протрите тряпкой его кончик от масла, опустите щуп обратно и извлеките еще раз. Обратите внимание на конец щупа. Измеряем уровень масла.

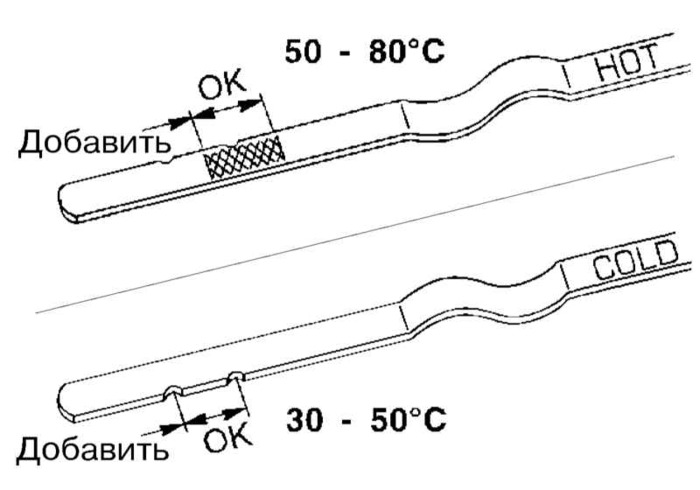
Наш масляный щуп, как правило, имеет две отметки – “HOT” и “COLD”, что с английского, соответственно, переводится как “Горячий” и “Холодный”. Для начала давайте разберемся со значением этих насечек. Насечка горячего уровня, давайте назовем его так, предназначена для измерения уровня жидкости в АКПП “на горячую”, то есть, когда автомобиль и сама коробка прогрета, в отличии же от уровня холодного. Он служит для проверки масла “на холодную”. Но он недостаточно достоверен для необходимой нам проверки.
Эти два уровня очень сильно друг от друга отличаются, поскольку, когда коробка прогрета до рабочих температур, масло в ней расширяется, занимая больший объем, а, заодно, и разносится по всей трансмиссии. В постоявшей же и охлажденной коробке такого не произойдет. Потому и отметка “COLD” на щупе находится ниже отметки “HOT” – холодное масло занимает меньше места.
В нашем случае проверки АТФ на горячую, масло должно находиться в пределах отметки “HOT”. Если уровень масла находится ниже горячего уровня – требуется долив масла. Если же, наоборот, уровень выше – сливайте масло из коробки до приведения уровня в норму.
Повышенный уровень масла в АКПП – насколько это опасно
Показатель уровня эмульсии ATF может быть завышенным, если вы при замене налили её слишком много или измеряете жидкость в холодном состоянии. О том, как проверить масло в коробке АКПП, почитайте в инструкции. Там должна содержаться информация о температуре, которую нужно обеспечить при контроле жидкости. В противном случае данные не будут достоверными.
Если масло перелить, то оно вспенится и приведет к повышению давления, затем лишняя жидкость начнет выплескиваться, а давление – падать. В результате вспенивания у масла изменяются плотность и эксплуатационные характеристики. По этой причине оно быстрее наполняется примесями, в шестернях передачи образуются люфты, начинают протекать сальники. В узле появляются характерные толчки, и это дает сбои в его работе.

Чем опасен избыток
Вращающиеся детали коробки передач захватывают масло с верхней границы уровня. Жидкость вспенивается и увеличивается в объеме. Излишки получившейся эмульсии выбрасываются через сапун. В результате вся АКПП будет испачкана маслом, а внутри узла возникнет дефицит со всеми вытекающими последствиями.
Порядок проверки уровня масла в АКПП
Есть два способа проверки: со применением щупа и без него. Если коробка оснащена щупом, нужно придерживаться следующих действий:
- Оставляем авто с заведенным мотором.
- Извлекаем приспособление, протираем тряпкой его кончик от масла.
- Опускаем щуп обратно.
- Извлекаем повторно.
- Уровень измеряется по отметке на щупе.
Зачастую на щупе имеются две отметки: «HOT» и «COLD». Насечка «HOT» означает «горячий». Она предназначена для замеров на «горячую», т.е. при прогретом авто и коробке. «COLD» — отметка, которая предназначена для замеров «на холодную». Специалисты считают, что такие данные являются недостоверными.
Уровни имеют много отличий, так как при прогретой коробке, происходит расширение масла, и оно занимает больше объема. Если коробка охлаждена, то этого не происходит, к тому же холодное масло занимает меньший объем. Проверяя «на горячую», масло должно находиться в районе отметки «HOT». Если жидкость находится ниже – масло доливается, если выше – сливается.
На многих европейских машинах, конструкцией предусматривается всего один щуп, которым измеряется уровень топлива в бензобаке. Поэтому при измерениях щуп не используется. В этой ситуации, применяется трубка в поддоне картера коробки. С помощью трубки отводятся излишки и обеспечивается контроль состояния ATFпо разным признакам, начиная запахом гари или темным цветом, заканчивая густотой консистенцией.
Среди этапов:
- Проанализируйте уровень жидкости и вкрутите трубку.
- Долейте свежую жидкость.
- Если жидкость не вытекает через трубку, добавляем смазку до появления масляных капель.
Последствия при низком уровне жидкости в коробке автомат
Если уровень масла ниже отметки Hot, это означает, что жидкости мало, или есть протечки в узле.
Осматривая днище автомобиля, можно найти поврежденные шланги, деформированные элементы, слабо затянутые соединения, грязные и потрепанные сальники. Если трансмиссионного масла недостаточно или оно протекает, то маслонасос будет подсасывать воздух.
Структура эмульсии видоизменяется, в результате это приводит к неприятным последствиям:
- мощность гидротрансформатора снижается, и ему приходится брать на себя дополнительную нагрузку;
- уменьшается давление на фрикционы, поэтому при переключении передач получаются резкие рывки, а диски из-за пробуксовки быстрее изнашиваются;
- в масле появляются примеси, которые закупоривают каналы гидроблока, фильтры насоса, шланги и соленоиды;
- жидкость теряет свои полезные свойства, и система начинает перегреваться.
Добавив масла до необходимого уровня, можно предотвратить износ АКПП раньше положенного срока. Жидкости разного вида смешивать запрещено, так как это может спровоцировать нежелательную химическую реакцию.
Следует заливать в систему то масло, которое находилось внутри изначально, или же то, которое рекомендует автопроизводитель.
Как надо подготовиться?
Сервисные специалисты поступают следующим образом:
- ставят ТС на выровненную платформу;
- пользуются проверочным щупом, расположенным в подкапотном пространстве (распознать его легко по ярко-красному цвету);
- освобождают площадку от грязи;
- чистят щуп от нитей, ворса.
Важный момент! Система-автомат не терпит грязного, некачественного масла.
Что доливать
После замеров возникает вопрос: чем выравнивать уровень масла в коробке автомат. Информацию о подходящей к вашей коробке жидкости производители часто указывают на щупе, или в документации к машине.
Как правильно проверять уровень масла в АКПП. Пошаговая инструкция
Эта инструкция подходит под большинство современных автомобилей.
Шаг 1. Заведите мотор, дождитесь, когда обороты нормализуются, прокатитесь несколько километров, чтобы коробка прогрелась.
Шаг 2. Найдите ровную площадку, чтобы машина стояла без наклона. Переведите рычаг коробки в «Паркинг».
Шаг 3. Начните проверку масла с поиска щупа под капотом. Если на щупе есть надпись HOT или COLD — это означает, в каком состоянии должен быть двигатель во время проверки. При «горячем» щупе правильно проверять масло в АКПП нужно при запущенном двигателе. А при «холодном» производите проверку при выключенном зажигании. В случае если на щупе присутствуют обе надписи, то они указывают на то, какой уровень масла должен быть при включенном и выключенном зажигании. Надписи FULL и ADD говорят о минимальном и максимальном уровне масла при заведенном двигателе.
Шаг 4. Вытащите щуп, вытрите его сухой тряпкой, чтобы на нем не осталось следов масла. Вставьте мерный щуп обратно и вытащите его через пару секунд.
На щупе должны располагаться засечки, показывающие минимальный и максимальный уровень масла. Если количество масла приближается к минимальной отсечке, долейте немного в коробку. Если уровень масла выше максимального, его придется откачивать. Старайтесь держать средний показатель между уровнями.
При пониженном уровне масла маслонасос будет «хватать» воздух, затем неминуемо вспенится оставшаяся жидкость. Это приведет к понижению давления, перегреву КП и быстрому износу.
Если уровень будет превышать допустимый, то масло также вспенится, но уже не от воздуха в системе, а из-за контакта с вращающимися деталями. Последствия будут такими же.
Последствия изменения уровня масла
Модели АКПП отличаются сильными и слабыми сторонами, поэтому изменение уровня ATF по-разному влияет на узел. Наглядные примеры из опыта ремонтных сервисов:
- В «бестселлере» среди надежных АКПП — ZF5HP19 — из-за недостатка ATF, ее преждевременного старения и загрязнения текут сальники, изнашиваются муфты, перегревается гидротрансформатор. Ремонт дорогостоящий — только замена расходников в ГТ обойдется в 7 000 р.

- Надежность TF-60SN/09G сильно зависит от уровня масла: при недостатке смазки фрикционы быстро сгорают, в поток попадает клеевой состав, который забивает сетку фильтра, каналы гидроблока, соленоиды, соты радиатора.

- В TF-80SC/AF40 ГТ загрязняет жидкость пылью от фрикционной накладки. При недостатке ATF эта взвесь забивает гидроблок, приводит к протечкам и падению давления в цепи передач.

B инструкции к автомобилю написано как определить уровень масла в АКПП, но какие последствия влечет за собой ненормальный показатель придется изучать самостоятельно.
Оптимальный уровень масла в АКПП рекомендации
Уровень трансмиссионного масла в коробке автомат проверяют:
- по контрольным меткам «Cold» и «Hot» или другим символам на щупе;
- через трубку в днище.
Количество жидкости измеряют при температуре, регламентированной производителем. Селектор выставляют в режим «Паркинг» или «Нейтраль». Для того чтобы оценить количество масла на щупе, его нагревают обычно до 80 — 90℃ и ориентируются по отметке «Hot».

Какой уровень масла АКПП должен быть на щупе:
- между засечками «Hot»;
- в зоне обозначенной сеткой;
- между метками, обозначающими предельные значения.
В АКПП с пробкой электрика особо чувствительна к количеству и чистоте жидкости, поэтому производители ограничили доступ водителей к самостоятельному техобслуживанию. Так, при перегреве ATF ЭБУ блокирует работу ГТ и тормозит переключение скоростей. Такие автоматы называют «необслуживаемыми», но это не значит, что водитель должен ждать момента, когда система откажет.
Уровень масла АКПП отслеживают, открутив пробку: если масло закапает — показатель правильный.
Последствия при низком уровне жидкости в коробке автомат
Отметка ATF ниже засечек «Hot» указывает на:
- недостаточное количество жидкости;
- протечки в узле.
Незатянутые соединения, повреждены шланги, загрязнены и изношены сальники, деформированы детали и т.д. можно обнаружить при осмотре днища. При утечке и нехватке жидкости маслонасос начинает подсасывать воздух.

Образуется смесь, отличная по своим характеристикам от ATF, что приводит к:
- падению КПД гидротрансформатора, что заставит его увеличить нагрузку;
- снижению давления на фрикционы, в следствие чего передачи будут дергаться при переключении, а диски стираться из-за пробуксовки;
- быстрому загрязнению жидкости, в результате эта грязь забьет фильтры насоса, каналы гидроблока, соленоиды, шланги;
- ухудшению качества смазки и перегреву системы.
Чтобы избежать преждевременного износа АКПП, нужно долить масло до нормы. Нельзя смешивать разные жидкости, чтобы избежать непредсказуемых химических реакций.
Доливать можно только ту ATF, которая уже находится в системе или рекомендуется производителем.
Повышенный уровень масла в АКПП насколько это опасно
Причиной завышенного показателя ATF может быть перелив после замены или измерение холодной жидкости. Производители пишут в мануалах как проверить уровень масла АКПП, указывают температуру, и это требование нельзя игнорировать, иначе замер будет неправильный.
Перелив приводит к вспениванию масла и росту давления — излишки выплеснутся наружу, и давление в системе упадет. Кроме того, вспенивание изменяет плотность и рабочие свойства жидкости. В результате масло быстрее загрязнится, сальники начнут течь, появятся люфты в шестернях передачи. Узел будет толкаться, выдавать ошибки и быстро выйдет из строя.
Замер масла по контрольной трубке
Теперь, давайте разберемся с трансмиссиями, которые щупом не оборудованы. После прогрева коробки, автомобиль следует поставить на эстакаду или над смотровой ямой, поскольку нам понадобится “подлезть” под коробку.
Сами по себе такие трансмиссии изначально рассчитаны производителем только на сервисное обслуживание. Нет, конечно же, работать с ней может и рядовой автолюбитель, однако для этого понадобится заложить в проверку масла уже большее количество усилий и времени. Также вам понадобится и сама жидкость АТФ, причем, такой же марки, которая находится в трансмиссии сейчас. Смешивание одной марки масла с другим не допускается.

Этот процесс можно назвать проверкой масла лишь с натяжкой, поскольку, в первую очередь, контрольная трубка АКПП рассчитана на то, чтобы только уберечь коробку от перелива масла. Но оценить уровень масла по ней все-таки возможно. Для этого поставьте авто на ровную поверхность, так как уклон автомобиля, а, значит, и коробки, сместит масло в агрегате в сторону и не даст нам оценить его уровень.
Уровень масла в АКПП
Итак, наш автомобиль стоит, двигатель заведен, а селектор коробки оставлен в положении “паркинг”. Для правильного дальнейшего выставления уровня масла необходимо измерить температуру трансмиссии с помощью компьютера, подключенного к автомобилю. Некоторые автолюбители за неимением специальных приборов советуют измерять температуру масла, капнув его себе на руку – оно не должно оказаться ни горячим, ни холодным, около 36 градусов Цельсия – температура тела человека. Способ хитрый, но точностью не отличается, а она-то нам как раз и нужна для выставления уровня АТФ. Потому без специального компьютера или, к примеру, тепловизора, мы все же рекомендуем обратиться в профильный сервис.
Когда температура держится у необходимой нам отметки, в соответствии с мануалом, находим внизу коробки пробку контрольной трубки. Откручиваем пробку и обращаем внимание на масло, которое должно потечь из контрольного отверстия.
Дождитесь, пока из трубки стечет небольшое количество масла, попавшее в нее во время эксплуатации. Начните заливать в АКПП масло. Как только оно слегка заструится из контрольного отверстия, остановитесь. Закрутите пробку на место.
По итогам этой процедуры возможны три результата проверки уровня масла:
- Если из отверстия жидкость капает или бежит мелкой струйкой – уровень масла в порядке. Нам нужно стремиться именно к такому результату. Закрутите пробку на место. Теперь остается только оценить состояние вытекшей АТФ жидкости, к чему мы перейдем чуть позже, а сейчас подождем, пока остальные автолюбители проверят масло и в своих коробках.
- В ином случае, если же наше масло сильно и быстро бежит из контрольного отверстия, значит, уровень масла в коробке превышен, нам нужно дождаться, пока лишнее масло сольется из отверстия.
- А если же масло не капает вовсе, это значит, что в коробке его мало и требуется его долив до получения результата, как в пункте под номером 1.
Коробка, модифицированная щупом

Сегодня у большинства моделей транспортных средств в АКПП есть специальный щуп, который предназначен для контрольной проверки трансмиссионного масла. Хозяин машины должен знать, есть ли в его автомобиле такая деталь, и если да, то необходимо понять, где она располагается. Информацию можно получить из руководства к транспорту или же самому исследовать содержимое под капотом. Наиболее вероятное местонахождение щупа – рядом с тыльной частью двигателя у перегородки моторного отсека. Чтобы его обнаружить, откройте капот и встаньте в противоположном движению машины направлении. С правой стороны вы увидите что-то типа рукоятки яркого окраса – эта деталь вам и нужна, слева также есть похожее приспособление, которым измеряют жидкость в автомате.
Иногда в автомобиле можно встретить два щупа рядом. Один из них нужен для контроля масла в КПП, другой – в двигателе. Различать их необходимо по цвету. Щуп для отслеживания уровня масла в двигателе обычно желтый. Аналогичная деталь для проверки смазки в автоматической коробке передач окрашена в контрастный цвет.
Если вы благополучно нашли щуп, проверьте критерии качества ATF. Как правило, на щупе имеются выгравированные надписи COLD и HOT, рядом с которыми есть две отметки. Данные обозначения отличаются от тех, что бывают в механической КПП. Естественно, возникает вопрос, как проверить уровень масла в АКПП. Существует два способа. В первом случае замер делается на непрогретой коробке, но он лишь прогнозирует уровень жидкости. Второй вариант считается более достоверным: АКПП прогревают до эксплуатационного значения температуры. Выясним, сколько трансмиссионной смазки должно быть в автоматической коробке передач в обоих случаях.
Важное правило (независимо от способа замера): транспортное средство должно стоять на идеально ровной поверхности.

Как правильно проверить уровень масла в АКПП, если коробка не прогрета?
- Включите двигатель и позвольте ему некоторое время поработать вхолостую. Чтобы жидкость тщательно распределилась на узлах, меняйте передачи, пока мотор запущен.
- Поставьте автомат в режим парковки. Зажигание выключать не нужно. При работающем двигателе извлеките щуп из гнезда, хорошо вытрите его лоскутом ткани без ворса и верните обратно, максимально прижав. Затем еще раз вытащите деталь и проверьте, до какого значения поднялась масляная пленка.
- При таком способе контрольным будет значение Cold, то есть «холодный». Если жидкость находится ниже этого уровня, значит, её количества недостаточно. Если выше – лишнее масло требуется слить.
Контроль критерия ATF на горячей коробке передач считается более надежным. На автомобиле нужно проехать примерно 15 км, чтобы он разогрелся до температуры эксплуатации. Поочередно переведите селектор коробки в разные положения. Не выключая мотора, проверьте уровень масла, как в п.2 приведенной выше инструкции.
Проверка уровня на работающем движке
- При неработающем двигателе достаньте щуп коробки передач и посмотрите на цвет масла. При пробеге около 150 т.км масло должно быть темно-коричневым и слегка прозрачным, с запахом легкой горечи, даже если его ни разу не меняли.
- Заведите двигатель, пройдитесь по всем положениям АКПП, установите селектор в положение «Р». Затем замерьте уровень масла на минимальных оборотах холостого хода. Эксплуатация с неправильным уровнем масла может привести к серьезным проблемам с АКПП. Правда, не забывайте, что с нагревом или охлаждением уровень масла в коробке существенно меняется — до 50 мм. Обязательно проверьте, хотя бы наощупь, насколько масло нагрелось. На щупе две метки (холодное, горячее по аглицки) холодного масла (+20°С), для горячего (+60…70°С).
- На все команды автоматическая коробка должна реагировать легко и непринужденно. Запустите двигатель, отключите кондиционер, затормозите машину рабочими тормозами и переведите селектор I АКПП из положения «N» поочередно в положение «D» или «R». При этом, без задержки, должно произойти включение передачи с легким толчком вперед или назад.
- Автомобиль на ровном горизонтальном участке дороги должен тронуться плавно, без толчков и рывков, и вести себя так же при последовательном переходе на более высокие передачи. Пробуксовка — вот основный признак неисправной АКПП. При резком нажатии на педаль газа при скорости до 100 км/час АКПП должна переключиться на более низкую передачу.

Оценка состояния АКПП по внешнему виду трансмиссионной жидкости
При проверке уровня масла АКПП смотрят на его цвет, прозрачность, запах и вспенивание. Проверить чистоту ATF можно по «тесту на тряпке», капнув с щупа на белую бумажную салфетку. Хорошее масло быстро впитается. Остатки твердых частиц, стружки, крошки говорят о загрязнении жидкости.

Черное и непрозрачное масло нужно срочно менять. Горелый запах вместе загрязнением указывает на перегрев коробки — потребуется диагностика с полной переборкой.
Причины и последствия низкого уровня ATF
Количество трансмиссионной жидкости в АКПП может снизиться по самым разным причинам. Например, вследствие:
- износа и выхода из строя прокладок или сальников;
- разрыва мембраны вакуумного корректора, который соединен патрубком с впускным коллектором двигателя. Между ними стоит мембрана, которая не пропускает масло. Если случился прорыв перепонки, масло из трансмиссии начинает перетекать в мотор. В результате из выхлопной трубы идет сизый дым, каких-либо утечек жидкости при этом не наблюдается;
- нарушения герметичности сальника насосного колеса гидротрансформатора.
Если уровень ATF ниже требуемого, могут наблюдаться:
- нарушения температурного режима смазочного материала (в виде перегрева);
- снижение рабочего ресурса жидкости;
- образование воздушно-масляной эмульсии. Это ведет к тому, что масло становится сжимаемым, в системе падает давление, нарушается отвод тепла, ухудшается смазка, плохо включаются передачи.
Высокий уровень ATF
Основной причиной высокого уровня масла являются как раз неправильные замеры, после который автовладелец начинает самостоятельно доливать жидкость в коробку.
При замене на СТО работники также могут залить слишком много. Причина проста: сливается горячая жидкость, заливается холодная, а горячая ATF имеет куда больший объем. Значит холодная впоследствии расширится еще больше.
Симптомы
Определить, что уровень масла выше нормы, можно по следующим признакам.
- Коробка начинает тупить, пинаться, передачи могут не включаться.
- Подтеки ATF в районе сапуна, щупа, сальников. Не случайно она имеет красный цвет, что отличает ее от всех других технологических жидкостей.
- Пена на щупе. При чем не просто наличие пузырьков, а устойчивая вспененная жидкость.
Последствия
Диски фрикционов начинают пробуксовывать относительно друг друга, а это приводит к их сгоранию и повышенному износу.

Последствия перелива практически такие же как при недоливе. Жидкость начинает доставать до вращающихся частей коробки и вспениваться, образуя эмульсию. Только кроме сжимаемости и плохой теплопередачи, вы вдобавок получаете серьезное увеличение объема ATF, излишки которой будут выбрасываться через сапун системы вентиляции АКПП.
Проверка масла на Фольцваген passat

- резьбовая пробка,
- перепускная (сливная) труба в масляном поддоне,
- пробка (заглушка),
- предохранительный колпак.
Уровень трансмиссионного масла в автоматической коробке передач зависит от температуры трансмиссионного масла. Так как для точного измерения температуры требуется диагностическое оборудование, то рекомендуется эту работу производить на станции технического обслуживания VW. Обычно уровень масла в автоматической коробке передач остается постоянным, если визуально не видно мест утечек. В таком случае нет необходимости в проверке уровня масла.
Автоматическая 4-х ступенчатая коробка передач 01N (в сочетании с 4-х цилиндровым двигателем, кроме двигателей мощностью 150 л. с.)
При проверке уровня и замене масла необходимо использовать защитные очки. Также необходимо установить новое уплотнение резьбовой пробки и новый предохранительный колпак для пробки.
Проверка уровня масла
При проверке уровня, температура трансмиссионного масла должна быть чуть ниже +35° С. Эта температура достигает ся через небольшое время после запуска двигателя. Для определения температуры необходимо к разъему подсоединить диагностическое оборудование VW. В противном случае температура может быть определена только ориентировочно.
ПОРЯДОК ВЫПОЛНЕНИЯ
- Установите автомобиль на подъемник в горизонтальном положении.
- Снимите нижний брызговик двигателя.
- Установите рычаг селектора автоматической коробкой передач в положение «P» и затяните ручной тормоз.
- Запустите двигатель при тестировании на оборотах холостого хода.
- При температуре автоматической коробкой передач от +35 до +40° С, отвинтите резьбовую пробку (1) в масляном поддоне коробки передач. Уровень масла нормальный, если происходит незначительный выход масла (условно из-за подъема уровня масла при нагреве). В противном случае долейте масло в коробку передач. Ввинтите пробку на место, до достижения температуры +45° С и затяните ее моментом 15 Нм.
- Установите нижний брызговик двигателя.

Если щупа и контрольной трубки в АКПП нет
Ну тогда, вероятнее всего, у вас мерседесовская коробка. Обращайтесь в сервис! Такие коробки производитель постарался сделать насколько это возможно необслуживаемыми. Проконтролировать масло в трансмиссии лучше специалистам, поскольку эти измерения должны производиться с помощью специального оборудования. На вышеупомянутой коробке, к примеру, оно может быть измерено с помощью специального сервисного щупа через не менее сервисную трубку.
Что бывает, когда жидкости больше чем требуется
Крайне нежелательным является и слишком высокий уровень жидкости в АКПП. Такое случается при частичной замене, когда в коробку заливают масла больше, чем вылилось из отверстия картера. В этом случае в ATF окунаются вращающиеся детали коробки (чего не должно быть) и вспенивают смазочный материал, когда двигатель набирает высокие обороты. В результате масло перегревается, увеличивается в объеме и начинает выдавливаться через прокладки и уплотнители коробки. Давления вспененного масла становится недостаточно для нормальной работы системы, фрикционы начинают пробуксовывать, ухудшается смазка. Перелив трансмиссионной жидкости водитель может заметить по пузырькам воздуха на щупе. Если своевременно не принять мер, т. е. не привести объем жидкости в соответствие с нормой, через короткое время может потребоваться капремонт АКПП.
- https://www.atfzamena.ru/kak-proverit-uroven-masla-v-korobke/
- https://rad-star.ru/pressroom/articles/kak-proverit-maslo-v-akpp/
- https://RolfOil.ru/kak-proverit-uroven-masla-v-akpp.html
- https://www.autotexplus.ru/o_kompanii/stati/kak-pravilno-izmerit-uroven-masla-v-akpp/
- https://auto3n.ru/statii/2117-kak-proverit-uroven-masla-v-korobke-peredach
- https://avtomatic-gg.ru/poleznye-stati/kak-proverit-uroven-masla-v-akpp/
- https://auto-self.ru/proverka-masla-v-akpp-priznaki-vysokogo-i-nizkogo-urovnya-zhidkosti-v-korobke-avtomat/
- https://110KM.ru/art/kak-pravilno-proverit-uroven-masla-v-akpp-127152.html
- https://akppoff.ru/maslo-akpp/kak-proverit-uroven-masla-v-akpp
- https://avtoivan.ru/2018/09/14/proverka-urovnja-masla-v-akpp/
- https://www.TakayamaOil.ru/articles/kak-proverit-uroven-masla-v-akpp/